ขอบข่ายการดำเนินการตามภาระงานและอำนาจหน้าที่ของงานแผนงาน
- รับนโยบายจากฝ่ายบริหาร เพื่อนำมาวิเคราะห์ และประสานงานกับทุกหน่วยงานในโรงเรียน เพื่อวางแผนการจัดทำแผนพัฒนา และแผนปฏิบัติการของโรงเรียนให้เกิดประสิทธิภาพมากที่สุด
- ประสานงานกับทุกกลุ่มบริหารทุกกลุ่มงาน เพื่อจัดหาคณะทำงานแผนงานของโรงเรียน
- ประชุมคณะทำงานแผน เพื่อวางแผน กำหนดหน้าที่รับผิดชอบปฏิบัติหน้าที่งานดังนี้
– รับนโยบายจากฝ่ายบริหารร่วมปรึกษาหารือคณะทำงานแผน เพื่อวิเคราะห์สภาพปัจจุบัน และปัญหา พร้อมทั้งกำหนดกิจกรรมงานโครงการที่สอดคล้องกับแผนและกลยุทธ์ มาตรฐานคุณภาพการศึกษา นโยบาย วิสัยทัศน์ และสอดคล้องกับสภาพปัจจุบันและปัญหาของโรงเรียน
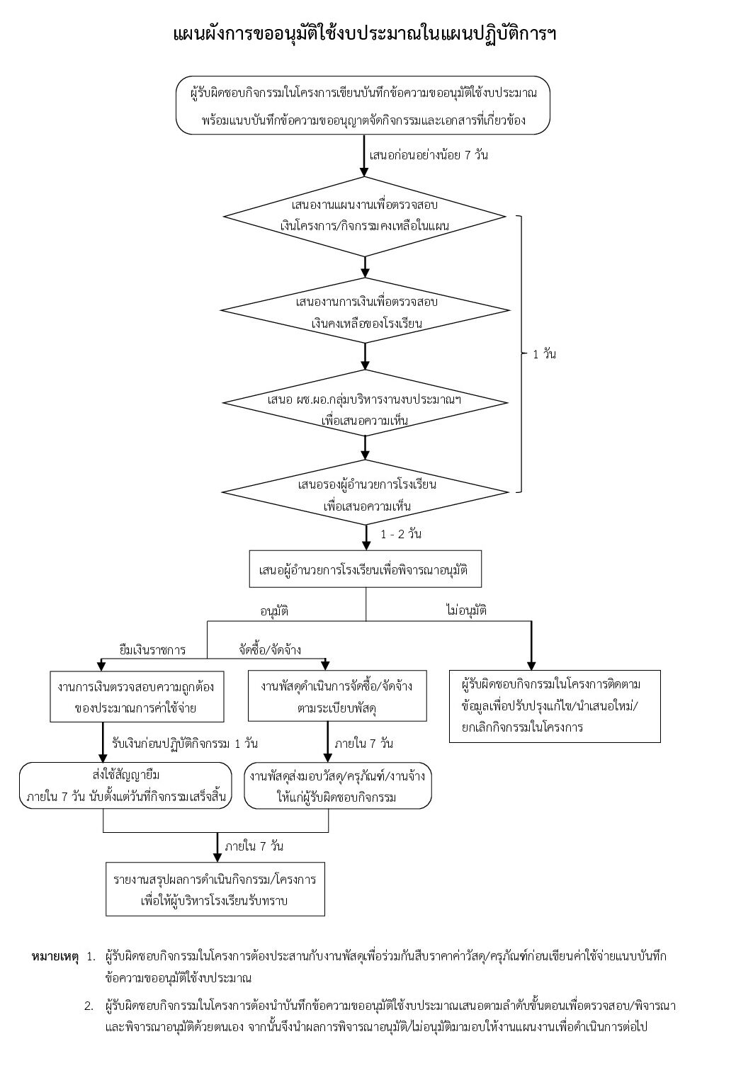
– เสนองานกิจกรรม/โครงการ เพื่อขออนุมัติแผนและงบประมาณ
– จัดทำแผนปฏิบัติการประจำปี
– ประสานกำกับติดตาม ให้ข้อเสนอแนะแก่ทุกงานในเรื่องแผนปฏิบัติการประจำปี
– กำหนดแบบประเมินผลการปฏิบัติงานตามกิจกรรมงานโครงการที่ปรากฏในแผนปฏิบัติการ ประจำปี และโครงการพิเศษตรวจสอบความถูกต้องในการจัดทำเอกสารเกี่ยวกับแผนงาน แผนปฏิบัติการทุกประเภท
- บันทึกข้อมูลและสารสนเทศของกลุ่มงาน
- ประสานงานกับเจ้าหน้าที่พัสดุ เพื่อกำหนดหน้าที่รับผิดชอบปฏิบัติงานดังนี้
– จัดทำเอกสารที่เกี่ยวข้องกับการใช้งบประมาณตามแผนปฏิบัติการประจำปี
– ประชุมเจ้าหน้าที่พัสดุทุกกลุ่มสาระฯ หรืองาน เพื่อรับทราบแนวทางการจัดซื้อ หาวัสดุ ครุภัณฑ์ตามแผนปฏิบัติการประจำปี- ดูแลกำกับตรวจสอบการใช้งบประมาณที่ปรากฏในแผนปฏิบัติการประจำปี
- ประสานเพื่อทำปฏิทินโรงเรียน
- รวบรวมและจัดทำรายงานผลการปฏิบัติงานตามแผนปฏิบัติการประจำปี
- ปฏิบัติหน้าที่อื่นที่ได้รับมอบหมาย
